"CQ-SKW", №23, декабрь, 1930 год, стр. 190-192
В последнее время диапазон 10—15 метров все более и более привлекает внимание наших и заграничных любителей, которым на 10-метровом диапазоне удалось достигнуть очень интересных результатов в отношении дальней связи.

У многих наших омов создалось ошибочное представление о приемнике на ультракороткие волны, как о чем-то капризном и каверзном. Правда, приемник на ультракороткие волны обладает некоторыми особенностями по сравнению с обычным приемником на 40 метров. Например: приемник совершенно не терпит механических сотрясений, монтаж должен быть выполнен, как говорится, «не за страх, а за совесть», совершенно недопустимо колебание монтажных проводников, которое создает сильнейшие QSS; в приемнике недопустимо присутствие трущихся металлических частей, которые создают значительные QRN, R—5—6.

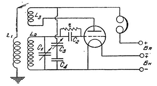
Учтя все вышеизложенное, удалось сконструировать приемник, в котором полностью или частично удалось избежать тех специфических недостатков, присущих ультракоротким волнам. Мною выбрана схема Шнелль (рис. 1), весьма простая в изготовлении и зарекомендовавшая себя с хорошей стороны. Однако необходимо признать, что сверхрегенераторы дают лучшие результаты только в отношении громкости, зато далеко превосходят обычный регенератор по трудности изготовления и настройки (приемник Шнелль); поэтому сверхрегенераторы не могут быть рекомендованы любителям, начинающим свои первые опыты на ультракоротких волнах. Приемник смонтирован на угловой панели, имеющей следующие размеры: горизонтальная 23 см × 32 см, для устойчивости лучше взять дубовую или березовую доску, но можно и сосновую; вертикальная панель дубовая, имеет размер 20 см × 23 см, толщиной 1 см.

Конденсатор контура С1 максимальной емкостью 15—17 см; конструкция его предусматривает устранение трущихся металлических частей, которые создают сильнейшие QRN. Конденсатор имеет одну подвижную и одну неподвижную пластины, причем неподвижную пластину совершенно необходимо монтировать на эбоните. Подробные размеры и устройство показаны на рисунках. Расстояние между пластинами 1,5 мм. Удлинительная ось делается из стеклянной или эбонитовой трубки диаметром 7—10 мм. Расстояние между передней панелью и конденсатором контура 250 мм. Верньер приставной вращает лимб диаметром 90 мм. Для повышения коэфициента замедления необходимо малую ручку вращения (т. е. ручку верньера) заменить большой диаметром 40—50 мм. Стойка, которая держит подвижную пластину, делается из дерева.


Катушки L1, L2 и L3 намотаны на одном картонном каркасе диаметром 30 мм, длиной 108 мм, L1 имеет 3 витка, L2 — 5 витков и L3 — тоже 5 витков. Провод изолированный, звонковый; намотку необходимо вести с зазором между витками в 2 мм. Расстояние между L1 и L2 — 40 мм, между L2 и L3 — 5 мм. Катушка смонтирована на куске эбонита толщиной 2—3 мм и размером 128 мм × 30 мм. Панель крепится к основанию на фарфоровых роликах.

Конденсатор гридлика C2 емкостью около 80 см — слюдяной, смонтирован на эбоните; утечка сетки 4—5 мегом, представляет собой несколько линий, начерченных карандашом на эбонитовой панельке конденсатора, между его обкладками, и подбирается опытным путем.

Конденсатор обратной связи С3 имеет емкость 200 см, последовательно с которым включается постоянный слюдяной конденсатор С4 емкостью 2000 см. Не обязательно переменный конденсатор брать 200 см, можно использовать и 450 см, только тогда предохранительный конденсатор берется в 450 см, т. е. чтобы максимальная емкость двух последовательно соединенных конденсаторов была бы не больше 200—250 см. Конденсатор связи монтируется на такой же павели, как и конденсатор контура. Расстояние от передней панели до конденсатора 130 мм. Верньер приставной, трестовский.

Ламповая панель безъемкостная, устройство и размеры ее показаны на рис. 9 и 10. Кольцо должно быть сделано обязательно из эбонита, лапки — латунные или алюминиевые, последние очень хорошо и легко поддаются обработке.
Монтажная схема приемника дана на рисунке 2, но не обязательно придерживаться именно того монтажа, который я привожу. Любитель может монтировать приемник согласно своему вкусу и возможностям, только необходимо обратить внимание на качество монтажа. Как правило, все токонесущие части монтируются на эбоните. Монтаж ведется жестким проводом диаметром 2 мм, а там, где нельзя употреблять жестких проводников (ламповая панель), используют гибкий шнур, который ведется по доске основания и прикрепляется к ней скобами.

Ламповая панель растягивается на двух резиновых лентах. Реостат накала помещается на аккумуляторе накала; это сделано с целью уменьшить количество монтажных проводников. Панель, на которой крепятся клеммы питания и антенны, делается из эбонита. Под основание привертываются резиновые ножки. Все же совершенно избавиться от QSSS и звона в приемнике очень трудно, почти невозможно. Экран не нужен, потому что экранировка одной передней панели не дает нужных результатов, приближение руки сказывается с одинаковой силой и при наличии экрана и без него. Еще раз напоминаю, что необходимо токонесущие части монтировать на эбоните, иначе приемник может совершенно отказаться работать. Для нормальной работы на анод детекторной лампы дается несколько повышенное анодное напряжение 90—100 вольт. В случае необходимости к приемнику присоединяется 1—2 каскада усиления низкой частоты.

Диапазон приемника примерно от 7 до 11,5 метров. Построив приемник, радиолюбитель сталкивается с вопросом его градуировки. Построить достаточно точный волномер на 5—15 метров не представляется возможным, приходится искать другие выходы. Мною применялся известный способ измерения волны по стоячим волнам. Поступаем следующим образом: подвешиваем провод длиной примерно в 2 предполагаемых наибольших волны приемника, (в нашем случае около 20 м), конец которого присоединяем к зажиму антенны. Антенная катушка настраивается параллельно присоединенным переменным конденсатором емкостью в 40—50 см. Далее составляем детекторный контур (см. рис. 11) с одним витком, диаметр которого 8 см; конденсатор постоянный 15—20 см, детектор простой с галеном. Передвигая вдоль провода наш детекторный контур, мы будем наблюдать периодические усиления и ослабления слышимости. Расстояние между двумя минимумами измеряется в метрах и делится на 2, и таким образом получается длина волны приемника. При описанном способе измерения волны на анод приемника давалось 100 вольт. Точность градуировки вполне достаточная для радиолюбительских целей.

В настоящее время на 10-метровом диапазоне работают многие заграничные омы. Мною приняты: SP, J, ON, также слышны гармоники наших радиолюбителей, работающих на 40 метрах. QRK до R — 5—6. QRB в некоторых случаях достигают 300—350 км. Все слышимые станции мною приняты днем. Попытки приема вечером и ночью не дали положительных результатов.