"Радиофронт", №33-34, ноябрь-декабрь, 1930 год, стр. 672-675

Ю. ШНЕЙДЕР
Городской радиолюбитель все чаще и чаще приходит к мысли о необходимости создать собственными силами обладающий большой избирательностью, но вместе с тем достаточно простой в управлении приемник. Побуждает его к этому растущее количество мощных радиовещательных станций, с одной стороны, и желание принимать не только те станции, которые «покрывают» все в данном диапазоне, но и станции маломощные, отдаленные. Кроме этого, стремление радиолюбителя получить наименее искаженную передачу, желание избавиться от всевозможных помех также направляет мысль радиолюбителя к сложным схемам.
Одной из таких схем и является супер-гетеродин.
Для того чтобы получить от приемника наибольшую избирательность и дальность действия, необходимо применить несколько каскадов резонансного усиления высокой частоты.
Теоретически число каскадов усиления высокой частоты и настроенных контуров высокой частоты может быть велико. Практически же, по крайней мере в любительской практике, количество каскадов усиления высокой частоты редко может быть больше одного. Это объясняется как усложнением настройки, так и легкостью возникновения собственной генерации вследствие неизбежного влияния отдельных каскадов высокой частоты друг на друга.
Значительно дальше в этом направлении позволяет итти супергетеродин, так как в нем резонансное усиление сигналов производится главным образом на промежуточной частоте, на которую отдельные резонансные контуры настраиваются раз навсегда.

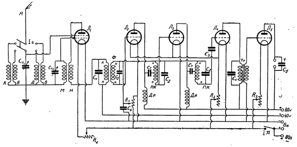
Предлагаемый нами супергетеродин является одним из простейших приемников этого типа, так как число ламп в нем доведено до минимума и, кроме того, конструкция его по возможности упрощена. Принципиальная схема приемника приведена на рис. 1.
Данные схемы следующие:
Сn1 и Сn2 — конденсаторы по 450 см (с верньером)
С1 — 450 см,
C2 — подстраивающиеся — до 250 см.
С3 — 90 см.
C4 — 4000-6000 см.
C5 — 6000—8000 см.
C6 — 6000—8000 см.
С7 — 270 см.
Н и К — начало и конец обмоток.
R1 — реостат 30 ом.
R2 — реостат 15 ом.
R3 — реостат 30 ом.
R4 — потенциометр 600 ом.
R5 — сопротивление 2 мегома (включается параллельно C3, на чертеже не указано).
Тр — трансформатор низкой частоты экранир. ¼—⅙.
Л1 — лампа МДС.
Л2 — Л5 — лампы «Микро».
Антенный контур состоит из антенны (А), переменного конденсатора (Сп1), двух пар катушек (КВ и ДВ) и двухполюсного переключателя (1в), позволяющего включать ту или другую пару катушек (для коротких или длинных волн). Колебания, возникающие в контуре антенны, действуют на рабочую сетку первой лампы (Л1). В цепи добавочной сетки и в цепи анода находятся катушки (М и Н) и конденсатор переменной емкости Сп2). Это и есть гетеродинный контур, создающий вспомогательные колебания; с помощью переменного конденсатора (Сп2) частота колебаний подбирается таким образом, чтобы, при наложении на принимаемую частоту, получалась всегда одна и та же волна, соответствующая выбранной промежуточной частоте. Таким образом, в цепи анода первой лампы (Л1) мы имеем уже пониженную и всегда постоянную частоту. В эту цепь включена первичная обмотка настроенного трансформатора промежуточной частоты (фильтр).
Настроенный трансформатор передает колебания на первую лампу усиления промежуточной частоты.

Обыкновенно усиление промежуточной частоты строится на трансформаторах. В описываемом супергетеродине применен несколько необычный метод, а именно связь между лампами на дросселях и настроенных контурах. Преимущества, которыми обладает этот метод, заключаются в следующем: 1) больший коэфициент усиления, 2) большее постоянство настройки, 3) большая избирательность. Если взять не слишком малую промежуточную частоту, можно для перекрытия всего диапазона, обойтись с одной парой катушек в контуре гетеродина; выбрав промежуточную частоту в 100 килоциклов (волна 3000 м), можно диапазон от 200 до 2000 метров перекрыть с одними и теми же катушками гетеродина — это также является одним из существенных преимуществ предлагаемой схемы по сравнению с обычными.
Из остальных деталей схемы остановимся на блокировочных емкостях. Емкость их должна быть несколько больше употребляющихся обычно в любительской практике слюдяных конденсаторов, эти конденсаторы должны быть взяты с емкостью в 4000—8000 см. Низкая частота (1 каскад) собрана на обычном междуламповом трансформаторе.

Прежде чем перейти к описанию деталей и их изготовления, мы считаем необходимым предупредить некоторых, зачастую слишком поспешных в решениях, но не всегда достаточно опытных любителей. Сборку супергетеродина, как и всякой сложной ламповой схемы, требует точности и аккуратности. Когда супергетеродин настроен, он работает без отказа и весьма прост в управлении. Но для этого надо отрегулировать гетеродинный контур и усиление промежуточной частоты безукоризненно (точно настроить все каскады на определенную волну). Кроме того, детали должны быть достаточно хорошего качества; данные емкостей, количества витков и пр. также должны быть строго соблюдены. Наконец, любитель должен иметь некоторый опыт в монтаже многоламповых приемников.

1. Антенный контур. Для простоты можно вместо рамочной антенны производить прием на небольшую комнатную антенну. Если у кого-либо явится желание использовать наружную антенну, необходимо для уменьшения собственной длины волны включить последовательно в антенну небольшой конденсатор постоянной емкости — 75—100 см. Антенна применяется ненастроенная, связанная индуктивно с замкнутым приемным контуром. Как было указано выше, замкнутый приемный контур имеет две пары катушек, поставленные под углом в 90° друг к другу. Катушки «КБ» для коротких волн (порядка 200—600 метров) имеют следующие данные: первичная обмотка — 25 витков, вторичная — 60 витков. Катушки «ДВ» для длинных волн (порядка 600—2000 м) — первичная — 50 витков, вторичная — 200 витков. Катушки каждой пары притянуты плотно друг к другу при помощи ниток. Катушки все сотовой намотки из провода 0,4 мм — ПШД (или ПБД). Болванка на которой мотаются катушки, имеет 50 мм в диаметре и имеет 15 шпилек в каждом ряду. Расстояние между рядами шпилек (ширина катушки) — 15 мм. Намотка ведется шагом в половину окружности — с 1 шпильки на 8-ю и т. д. Желательно заэкранировать каждую пару катушек. Экран следует заземлять. При желании, провод и размеры катушек можно взять несколько иные, сообразно с имеющимся под рукой у любителя материалом, не изменяя однако же количества витков. Разница в диапазоне будет небольшая. Крепятся эти катушки сверху внутренней панели, отводы пропускаются вниз.

2. Колебательный контур гетеродина. Как было уже указано, для контура гетеродина требуется только одна пара катушек.
Контур в цепях сеток состоит из двух катушек корзиночного типа на картонных каркасах, по 58 витков каждая, соединенных последовательно. Между ним находится катушка анодной цепи сотовой намотки в 125 витков по данным, указанным для антенного контура (болванка, количество шпилек, диаметр, ширина катушек и шаг намотки). Провод для всех катушек М.Н. гетеродинного контура — 0,4 мм ПШД. Ни в коем случае не следует покрывать катушки лаком или шеллаком. Необходимо также строго соблюсти указанное расстояние между катушками, в частности между двумя корзиночными — 25 мм (рис. 1, 2 и 3).
Всю эту систему очень удобно укрепить между щечками из фибры или эбонита и сбоку покрыть лентой из целлулоида. Крепить гетеродинный контур удобно под горизонтальной панелью.

3. Фильтр и контура промежуточной частоты. Каркасы, на которых будут мотаться фильтр и катушки контуров промежуточной частоты, лучше всего было бы сделать из сплошного куска эбонита, с соответственно выточенными пазами. Но так как эта процедура, далеко не всегда доступна любителям, мы опишем способ изготовления их из отдельно вырезанных кружков эбонита (рис. 4). Скрепленные при помощи длинного медного болтика, кружки эти образуют каркас, который имеет вид, указанный на рис. 5.
Для фильтра и каждой катушки необходимо (рис. 4) иметь следующее:
1) кружок 65 мм диаметром, 4 мм толщины (а);
2) кружок 65 мм диаметром, 6 мм толщины (b);
3) три кружка 49 мм диаметром, 2 мм толщины (с);
4) четыре кружка 14 мм диаметром, 4 мм толщины (d).
5) Один медный болтик с гайками длиною в 45 мм.
6) Шесть длинных контактов.
Когда вcе будет приготовлено и каркасы собраны, приступают к намотке.

Обмотки фильтра Ф имеют следующие данные: первичная обмотка 360 витков провода 0,3 ПШД в первом пазу (рис. 5), вторичная два раза, по 360 витков того же провода в 3 и 4 пазу. Необходимо намотку делать в одном направлении. Катушки контуров промежуточной частоты ПК мотаются на тех же каркасах и из той же проволоки, что и катушки фильтра, но по 200 витков в каждом пазу, всего 800 витков с отводом после первых 200 витков. Необходимо как можно тщательнее накладывать виток к витку.
Концы обмоток крепятся помощью петель под контакты, расположенные на нижней щеке каркаса (рис. 6).

Настройка контуров промежуточной частоты достигается с помощью конденсаторов С2. Они состоят из двух металлических пластинок с слюдяным или целлулоидным диэлектриком. Настройка производится изменением расстояния одной пластинки по отношению к другой.
На рис. 7 изображены металлическая пластина (а), целлулоидная прокладка (b) и конденсатор в собранном виде (с).
Для сборки конденсатора поступают следующим образом: накладываются пластинка (а) ушком на левый контакт, затем кладется ушками на оба контакта прокладка (в), наконец, ушком на правый контакт вторая пластинка (а). Тщательно проверяют правильное расположение металлических пластин (верхняя должна покрывать нижнюю) и стягивают контакты болтами. На центральный болт (который крепит каркас) навинчивается карболитовая гайка, с помощью которой и будет производиться изменение расстояния между пластинками. Для того чтобы верхняя пластинка давила всегда на карболитовую гайку, необходимо место у ушка этой пластины соответственно выгнуть.

Как указано на рисунке, гайка, крепящая каркас и находящаяся сверху, должна быть утоплена в эбоните.
Эти конденсаторы смонтированы непосредственно на фильтре Ф и катушках ПК.
Дросселя (Др). Для дросселей делаются каркасы такого же типа, как и для фильтра и катушек.
Для каждого дросселя нужно (рис. 8):
1) 2 кружка диаметр. 34 мм, толщиной 4 мм (а).
2) 3 кружка диаметр. 34 мм, толщиной 2 мм (b).
3) 4 кружка диаметр. 20 мм, толщиной 2 мм (с).

В каждом из пазов укладывается по 400 витков провода 0,1 ПШД, итого 1600 витков. Крепятся дросселя под горизонтальной панелью.
После изготовления фильтра, дросселей и катушек контуров промежуточной частоты желательно обернуть их полоской материи, лучше шелковой, во избежание всяких повреждений.
После того, как приемник будет отрегулирован, весьма полезно на фильтры и катушки промежуточной частоты надеть металлические колпачки, плотно охватывающие ребра щечек. Металлические колпачки можно заменить картонными, тщательно оклеенными станиолью. Этот станиолевый экран следует заземлить.
Мы не останавливаемся на описании каскада усиления низкой частоты. Его схема и выполнение известны любителям, и здесь мы предоставляем свободный выбор каждому.
Монтаж делается посеребренным проводом 1,2—1,5 мм. Провода не должны быть близки друг к другу (в особенности антенного и гетеродинного контуров), в то же время нужно соблюдать кратчайшие пути в соединениях. Пайка должна быть тщательной. Не следует лениться сделать лишний спай, если это сокращает расстояние.

Настройка промежуточных контуров производится на приеме местных мощных станций. Антенный контур устанавливается приблизительно на волну принимаемой станции. Потенциометр устанавливается на 0 (т. е. ползунок у —4 в), конденсаторы фильтра и катушек примерно на три четверти их емкости (т. е. карболитовые гайки завинчиваются не до отказа). Одновременным вращением обоих переменных конденсаторов (Сп1 и Сп2) останавливаются на максимуме слышимости, и затем подстраивают в отдельности каждый из этих конденсаторов. Когда получается максимальная настройка, переходят к настройке сначала фильтра, а затем промежуточных контуров. Потенциометром устанавливаются наилучшие условия работы. Затем переходят к другой, менее мощной станции. Оставляя неизменной настройку контуров промежуточной частоты, настраивают антенный контур и гетеродин. Затем, как и в первом случае, переходят к настройке контуров промежуточной частоты.
Переменно переходя на все более дальние станции с разной длиной волны, можно достигнуть полной настройки контуров промежуточной частоты.
Вообще настройка супергетеродина весьма хлопотливая вещь. Но несколько дней работы дадут, наконец, желаемые результаты, и любитель будет удовлетворен. Не следует, однако, думать, что супергетеродин является идеальным приемником; но он несомненно дает весьма устойчивый прием и высокую избирательность.
Когда приемник окончательно отрегулирован, настройка его сравнительно проста. Общее включение питания производится выключателем (1а), перевод на длинные или короткие волны переключателем (1b), настройка конденсаторами Сп1 и Сп2. Реостаты можно почти всегда оставлять на месте, так как имеется общий рубильник и потенциометр для регулировки усиления и устранения генерации.
