"Радиофронт", №33-34, ноябрь-декабрь, 1930 год, стр. 680-682

Г. А. ГОФМАН
Недавно завод «Мосэлектрик» выпустил в продажу фильтр, предназначенный для отстройки от мешающих станций. Наличие в фильтре таких деталей, как переменный конденсатор и сотовые катушки, дает возможность превратить фильтр в одноламповый регенератор или детекторный приемник. Стоит фильтр около 13 рублей. Путем незначительных переделок и добавлений некоторых второстепенных и дешевых деталей фильтр легко превратить в одноламповый регенератор.

Когда фильтр переделывается в детекторный приемник, то можно в том же ящике собрать одноламповый усилитель низкой частоты на трансформаторе или на сопротивлениях. Для всего этого в ящике фильтра будет достаточно много места. В настоящей статье мы остановимся главным образом на том, как переделать фильтр «РФ» в одноламповый регенератор. В конце статьи будут даны также указания о том, какие схемы могут быть собраны в этом фильтре.
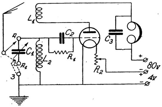
Принципиальная схема фильтра приведена на рис. 1. Как видно, фильтр представляет собой обычный колебательный контур, состоящий из переменного конденсатора С1 и катушки L1. Клеммами А и Б фильтр присоединяется к приемнику по той или иной схеме включения фильтра. Если добавить лампу, реостат, телефонные гнезда и др. мелкие детали, можно собрать одноламповый регенератор. Принципиальная схема этого регенератора приведена на рис. 2. Катушка обратной связи L1 имеет переменную индуктивную связь с катушкой L2 сеточного контура. При помощи перемычки, которая включена в клемму «земля», мы можем получить схему «короткие» или «длинные» волны.

Данные схемы следующие:
C1 — 500 см, — переменный конденсатор нашего фильтра;
С2 и R1 — нормальный гридлик;
С3 — конденсатор, шунтирующий телефон. Емкость его порядка 1000 см;
R2 — реостат в 25 ом;
L1 и L2 — сотовые катушки с обычным для регенератора числом витков.
Для сборки однолампового регенератора к фильтру докупаются следующие детали:
1) ламповая панель;
2) реостат накала;
3) телефонные гнезда — 4 шт.;
4) 1 клемма.

Ламповая панель берется ВЭО для внутреннего монтажа. Особое внимание следует обратить на реостат накала. Он должен занимать немного места и иметь наиболее удобное крепление. Этим требованиям удовлетворяет реостат производства ВЭО. Крепится он одной гайкой и имеет достаточно плавный ход ползунка по обмотке. Вместо него можно взять и реостат «Украинрадио», который, правда, по качеству немного ему уступает.

Вместо телефонных гнезд хорошо взять универсальные клеммы, под которые можно поджать провод и в которые можно вставлять вилки.
В расположении частей фильтра ничего не изменяется, все детали остаются на своих местах. Ламповая панель, реостат, телефонные гнезда располагаются на боковой стенке ящика. В этом месте, где замонтированы две клеммы, укрепляется еще третья клемма для переключения на «длинные» и «короткие» волны. В дне ящика сделано отверстие, в которое пропущен шнур источников питания. К телефонным гнездам, в которые вставляется катушка L2, приделан станок для катушки обратной связи L1.
Общий вид регенератора, переделанного из фильтра, приведен на фотографиях.
Монтаж получается очень тесный, поэтому все соединения необходимо делать мягким шнуром с хорошей изоляцией. Для этих целей можно взять осветительный шнур, предварительно сняв с него чулок. Блокировочный конденсатор и гридлик лучше всего замонтировать в специальных держателях, чтобы можно было легко менять и подобрать той или иной величины емкости и сопротивления. Все соединения следует делать пайкой и при пайке не употреблять кислоты. В местах, где провода идут близко друг к другу, или где они скрещиваются на близком расстоянии друг от друга, необходимо в целях предупреждения возможных касаний одеть небольшой кусок резиновой трубки. Внимательно следует проверить, достаточно ли надежно изолированы провода, идущие к высокому напряжению, ибо при касании этих проводов к проводам цепи накала можно пережечь лампу.

После того как верхняя крышка фильтра с переменным конденсатором будет закрыта, необходимо обратить внимание на то, чтобы подвижные пластины конденсатора не касались проводов схемы. Для этого все провода, лежащие близко к переменному конденсатору, необходимо отвести немного в сторону. Приключение к приемнику источников питания производится при помощи шнура, свитого из четырех отдельных проводов. Провода лучше взять разного цвета для лучшего их распознавания. Концы шнуров зажимаются между двумя кружками, выпиленными из фанеры.

Кружки стягиваются контактами, пропущенными через их центры. На кружках делаются соответствующие надписи: +80, —80 и +4, —4. Для удобства присоединения к источникам питания концы шнуров снабжаются наконечниками. Расположение деталей и монтаж приемника достаточно видны из фотографий и кроме того точно указаны в монтажной схеме (рис. 6).
Как уже говорилось выше, для катушки обратной связи L1 к фильтру необходимо приделать особый станочек. Станок состоит из эбонитовой панельки, на которой замонтированы телефонные гиезда. Станок этот имеет С-образную форму. От этих гнезд, которые укреплены на панельке держателя, идет мягкий свитый шнур к соответствующим местам схемы. Шнур этот пропускается в крышку, в которой просверлено отверстие. Очень желательно телефонные гнезда этого станка смонтировать на эбоните для лучшей изоляции. Если же эбонита под руками не окажется, то в крайнем случае можно его заменить сухим парафинированным деревом.

Станок этот монтируется на крышке ящика так, чтобы вставленная катушка L1 могла бы вплотную приближаться к катушке L2. Держатель катушки L1 должен двигаться с некоторым трением. Для этого необходимо отрегулировать станок. Разметка станка дана на рис. 3. На снимках видно, как он укреплен на ящике.
Для испытания приемника вставляем лампу, телефон, катушки, включаем питание и присоединяем провода от антенны и земли. Затем медленно выводится реостат и сближаются катушки L1 и L2. При повороте конденсатора С1 и медленном сближении катушек в телефоне должен быть услышан щелчок, указывающий на возникновение генерации. Основным признаком исправности приемника является способность его генерировать. Если генерация не хочет возникать, то следует попробовать переменить местами провода, идущие к катушке L2 или L1. После этого генерация должна появиться.

К фильтру при покупке его прилагаются 4 катушки — в 25, 50, 100 и 200 витков. Для полного набора придется прикупить или намотать еще пару катушек в 75 и 150 витков.
Вышеописанный приемник дает результаты такие же, как и всякий нормальный регенератор. При добавлении к нему усилителя низкой частоты с двумя или даже с одной лампой все слышимые станции «идут» на репродуктор с хорошей громкостью.
В ящике фильтра можно собрать одноламповый усилитель, а детали фильтра применить для изготовления детекторного приемника (рис. 4). Детали располагаются в ящике по усмотрению самого любителя. В фильтре можно также собрать детекторный приемник с индуктивной связью. Наконец можно собрать всем хорошо известный детекторный приемник П3 (рис. 5).
